X11-4K Initial Setup
From ViewSonic Documentation
Choosing a Location - Projector Orientation
Personal preference and room layout will decide the installation location. Consider the following:
- Size and position of your screen.
- Location of a suitable power outlet.
- Location and distance between the projector and other equipment.
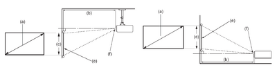
-
Front Table
-
Front Ceiling
-
Rear Table
-
Rear Ceiling
| Location | Description |
|---|---|
| Front Table | The projector is placed near the floor in front of the screen. |
| Front Ceiling | The projector is suspended upside-down from the ceiling in front of the screen. |
| Rear Table[1] | The projector is placed near the floor behind the screen. |
| Rear Ceiling[1] | The projector is suspended upside-down from the ceiling behind the screen. |
Projection Dimensions
- NOTE:
- (e) = Screen | (f) = Center of Lens
- The distance from the center of the lens to the rear of the projector is 17.35 cm (6.83”).
16:9 Image on a 16:9 Screen
| (a) Screen Size | (b) Projection Distance | (c) Image Height | Image Width | ||||||
|---|---|---|---|---|---|---|---|---|---|
| Minimum | Maximum | ||||||||
| in. | cm | in. | cm | in. | cm | in. | cm | in. | cm |
| 30 | 76.2 | 19.7 | 50.1 | 19.7 | 50.1 | 14.7 | 37.4 | 26.15 | 66.4 |
| 40 | 101.6 | 26.7 | 67.8 | 26.7 | 67.8 | 19.6 | 49.8 | 34.86 | 88.6 |
| 50 | 127 | 33.7 | 85.6 | 33.7 | 85.6 | 24.5 | 62.3 | 43.58 | 110.7 |
| 60 | 152.4 | 40.7 | 103.3 | 40l7 | 103.3 | 29.4 | 74.7 | 52.29 | 132.8 |
| 70 | 177.8 | 47.6 | 121 | 47.6 | 121 | 34.3 | 87.2 | 61.01 | 155 |
| 80 | 203.2 | 54.6 | 138.7 | 54.6 | 138.7 | 39.2 | 99.6 | 69.73 | 177.1 |
| 90 | 228.6 | 61.6 | 156.4 | 61.6 | 156.4 | 44.1 | 112.1 | 78.44 | 199.2 |
| 100 | 254 | 68.5 | 174.1 | 68.5 | 174.1 | 49 | 124.5 | 87.16 | 221.4 |
| 110 | 279.4 | 75.5 | 191.8 | 75.5 | 191.8 | 53.9 | 137 | 95.87 | 243.5 |
| 120 | 304.8 | 82.5 | 209.5 | 82.5 | 209.5 | 58.8 | 149.4 | 104.59 | 265.7 |
| 130 | 330.2 | 89.5 | 227.2 | 89.5 | 227.2 | 63.7 | 161.9 | 113.3 | 287.8 |
| 140 | 355.6 | 96.4 | 244.9 | 96.4 | 244.8 | 68.6 | 174.3 | 122.02 | 309.9 |
| 150 | 381 | 103.4 | 262.7 | 103.4 | 262.7 | 73.5 | 186.8 | 130.74 | 332.1 |
| 160 | 406.4 | 110.4 | 280.4 | 110.4 | 280.4 | 78.4 | 199.2 | 139.45 | 354.2 |
| 200 | 508 | 138.3 | 351.2 | 138.3 | 351.2 | 98.1 | 249.1 | 174.32 | 442.8 |
There is a 3% tolerance among these numbers due to optical component variations. It is recommended to physically test the projection size and distance before permanently installing the projector.
Mounting the Projector
- NOTE: If you buy a third party mount, please use the correct screw size. Screw size can vary depending on the thickness of the mounting plate.
- To ensure the most secure installation, please use a ViewSonic® wall or ceiling mount.
- Ensure the screws used to attach the mount to the projector meet the following specifications:
- Screw type: M4 x 8
- Maximum Screw Length: 8 mm
CAUTION
- Avoid installing the projector near a heat source or air conditioner.
- Keep at least a 10 cm (3.9 in.) gap between the ceiling and the bottom of the projector.