From ViewSonic User Guide Database
Introducion
Package Contents
| Number
|
Description
|
| 1
|
Projector
|
| 2
|
Remote Control
|
| 3
|
Batteries
|
| 4
|
Quick Start Guide
|
| 5
|
Power Cord
|
Note: The power cord and remote control included in your package may vary depending on your country. Please contact your local reseller for more information.
Projector Overview
| Number
|
Description
|
| 1
|
Remote IR Sensor
|
| 2
|
Keypad
|
| 3
|
Lens Shift
|
| 4
|
Focus Ring
|
| 5
|
Vent (inlet)
|
| 6
|
Zoom Ring
|
| 7
|
Vent (outlet)
|
| 8
|
Security Bar
|
| 9
|
Adjuster Foot
|
| 10
|
Projection Lens
|
Note: Do not block projector intake and exhaust vents.
Keypad
| Icon
|
Button
|
Description
|
|
Power
|
Toggles the projector between standby mode and Power On.
|
|
Keystone
|
Manually corrects distorted images resulting from an angled projection.
|
|
Navigation
|
Selects the desired menu items and makes adjustments when the On-Screen Display (OSD) Menu is activated.
|
|
Menu/Exit
|
Turns on or off the On-Screen Display (OSD) Menu.
|
|
Source
|
Displays the input source selection bar.
|
|
Information
|
Displays the INFORMATION menu.
|
|
Enter
|
Enacts the selected On-Screen Display (OSD) menu item when the OSD Menu is activated.
|
|
Auto
|
Automatically determines the best picture timings for the displayed image.
|
Indicator Lights
| Indicator Light
|
Description
|
|
Power indicator light
|
|
Light Source indicator light
|
|
Temperature indicator light
|
I/O Ports
| Number
|
Port
|
Description
|
| 1
|
HDMI 2[1]
|
HDMI port.
|
| 2
|
HDMI 1[1]
|
HDMI port.
|
| 3
|
USB (5V/1.5A Out) (Service)
|
USB Type A port for power and service.
|
| 4
|
Control
|
LAN port.
|
| 5
|
RS-232
|
RS-232 control port.
|
| 6
|
AUDIO OUT
|
Audio signal output socket.
|
| 7
|
AC IN
|
AC In Socket
|
Notes:
Remote Control
| Button
|
Description
|
| 1
|
AV Mute
|
|
Hides the screen picture and volume mute.
|
| 2
|
Power
|
|
Turns the projector On or Off.
|
| 3
|
Auto Sync
|
|
Automatically determines the best picture timings for the displayed image.
|
| 4
|
Source
|
|
Displays the input source selection bar.
|
| 5
|
Navigation Buttons
|
|
Navigates and selects the desired menu items and make adjustments.
|
| 6
|
Enter
|
|
Confirms the selection.
|
| 7
|
Menu/Exit
|
|
*Turns the On-Screen Display (OSD) Menu On or Off.
- Go back to a previous OSD Menu.
- Exit and Save menu settings.
|
| 8
|
Brightness
|
|
Displays the brightness mode selection bar.
|
| 9
|
Volume Up
|
|
Increase the volume level.
|
| 10
|
Keystone
|
|
Manually correct distorted images.
|
| 11
|
Volume Down
|
|
Decrease the volume level.
|
| 12
|
Video
|
|
Unsupported Button
|
| 13
|
VGA
|
|
Unsupported Button
|
| 14
|
HDMI
|
|
Selects the HDMI 1 or HDMI 2 input source.
|
| 15
|
Aspect
|
|
Displays the aspect ratio selection bar.
|
| 16
|
Page Up
|
|
Unsupported Button
|
| 17
|
Zoom In
|
|
Increases the projected image size.
|
| 18
|
Freeze
|
|
Freeze the projected image.
|
| 19
|
Zoom Out
|
|
Reduces the projected image size.
|
| 20
|
Page Down
|
|
Unsupported Button
|
| 21
|
Display Mode
|
|
Displays the color mode selection bar.
|
| 22
|
Mouse Mode
|
|
Unsupported Button
|
| 23
|
Mute
|
|
Mute/Unmute.
|
Remote Control - Receiver Range
To ensure proper function of the remote control follow the steps below:
- The remote control must be held at an angle within 30° perpendicular to the projector’s IR remote control sensor(s).
- The distance between the remote control and the sensor(s) should not exceed 8 m (26 ft)
Note: Refer to the illustration for the location of the infrared (IR) remote control sensor(s).
Replacing the Batteries
- Remove the battery cover from the bottom of the remote control by pressing the finger grip and sliding it across.
- Remove any existing batteries (if necessary) and install two AAA batteries.
Note: Observe the battery’s polarities as indicated.
- Replace the battery cover by aligning it with the base and pushing it back into position.
Note: :* Avoid leaving the remote control and batteries in excessive heat or a humid environment.
- Replace only with the same or equivalent type recommended by the battery manufacturer.
- If the battery is drained or if you will not be using the remote control for an extended period of time, remove the battery to avoid damage to the remote control.
- Dispose of used batteries according to the manufacturer’s instructions and local environment regulations for your region.
Initial Setup
Choosing a Location - Projector Orientation
Personal preference and room layout will decide the installation location. Consider the following:
- Size and position of your screen.
- Location of a suitable power outlet.
- Location and distance between the projector and other equipment.
The projector is designed to be installed in one of the following locations:
Front
The projector is placed near the floor in front of the screen.
Front Ceiling
The projector is suspended upside-down from the ceiling in front of the screen.
Rear[1]The projector is placed near the floor behind the screen.
Rear Ceiling[1]The projector is suspended upside-down from the ceiling behind the screen.
Notes:
- ↑ 1.0 1.1 A rear projection screen is required.
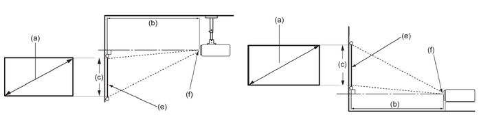
Projection Dimensions
16:9 Image on a 16:9 Screen
Note: (e) = Screen / (f) = Center of Lens
| (a) Screen Size
|
(b) Projection Distance
|
(c) Image Height
|
(d) Vertical Offset
|
| Minimum
|
Maximum
|
Minimum
|
Maximum
|
| in.
|
mm
|
in.
|
mm
|
in.
|
mm
|
in.
|
mm
|
in.
|
mm
|
in.
|
mm
|
| 30 |
762 |
31.38 |
797 |
53.35 |
1355 |
14.71 |
374 |
0.88 |
22 |
3.97 |
101
|
| 40 |
1016 |
41.85 |
1063 |
71.10 |
1806 |
19.61 |
498 |
1.18 |
30 |
5.30 |
135
|
| 50 |
1270 |
52.28 |
1328 |
88.90 |
2258 |
24.51 |
623 |
1.47 |
37 |
6.62 |
168
|
| 60 |
1524 |
62.76 |
1594 |
106.69 |
2710 |
29.42 |
747 |
1.76 |
45 |
7.94 |
202
|
| 70 |
1778 |
73.23 |
1860 |
124.45 |
3161 |
34.32 |
872 |
2.06 |
52 |
9.27 |
235
|
| 80 |
2032 |
83.66 |
2125 |
142.24 |
3613 |
39.22 |
996 |
2.35 |
60 |
10.59 |
269
|
| 90 |
2286 |
94.13 |
2391 |
160.04 |
4065 |
44.12 |
1121 |
2.65 |
67 |
11.91 |
303
|
| 100 |
2540 |
104.61 |
2657 |
177.80 |
4516 |
49.03 |
1245 |
2.94 |
75 |
13.24 |
336
|
| 10 |
2794 |
115.04 |
2922 |
195.59 |
4968 |
53.93 |
1370 |
3.24 |
82 |
14.56 |
370
|
| 120 |
3048 |
125.51 |
3188 |
213.35 |
5419 |
58.83 |
1494 |
3.53 |
90 |
15.88 |
403
|
| 130 |
3302 |
135.98 |
3454 |
231.14 |
5871 |
63.73 |
1619 |
3.82 |
97 |
17.21 |
437
|
| 140 |
3556 |
146.42 |
3719 |
248.94 |
6323 |
68.64 |
1743 |
4.12 |
105 |
18.53 |
471
|
| 150 |
3810 |
156.89 |
3985 |
266.69 |
6774 |
73.54 |
1868 |
4.41 |
112 |
19.86 |
504
|
| 200 |
5080 |
209.17 |
5313 |
355.59 |
9032 |
98.05 |
2491 |
5.88 |
149 |
26.47 |
672
|
| 250 |
6350 |
261.46 |
6641 |
444.49 |
11290 |
122.57 |
3113 |
7.35 |
187 |
33.09 |
841
|
| 300 |
7620 |
313.78 |
7970 |
533.39 |
13548 |
147.08 |
3736 |
8.82 |
224 |
39.71 |
1009
|
Note: :* These figures are for reference purposes only. Please refer to the actual projector for the precise dimensions.
- It is recommended that if you intend to permanently install the projector to physically test the projection size and distance using the actual projector before you permanently install it.
16:9 Image on a 4:3 Screen
Note: (e) = Screen / (f) = Center of Lens
| (a) Screen Size
|
(b) Projection Distance
|
(c) Image Height
|
(d) Vertical Offset
|
| Minimum
|
Maximum
|
Minimum
|
Maximum
|
| in.
|
mm
|
in.
|
mm
|
in.
|
mm
|
in.
|
mm
|
in.
|
mm
|
in.
|
mm
|
| 30 |
762 |
28.80 |
732 |
48.96 |
1244 |
13.50 |
343 |
0.81 |
21 |
3.65 |
93
|
| 40 |
1016 |
38.40 |
975 |
65.28 |
1658 |
18.00 |
457 |
1.08 |
27 |
4.86 |
123
|
| 50 |
1270 |
48.00 |
1219 |
81.60 |
2073 |
22.50 |
572 |
1.35 |
34 |
6.08 |
154
|
| 60 |
1524 |
57.60 |
1463 |
97.92 |
2487 |
27.00 |
686 |
1.62 |
41 |
7.29 |
185
|
| 70 |
1778 |
67.20 |
1707 |
114.24 |
2902 |
31.50 |
800 |
1.89 |
48 |
8.51 |
216
|
| 80 |
2032 |
76.80 |
1951 |
130.56 |
3316 |
36.00 |
914 |
2.16 |
55 |
9.72 |
247
|
| 90 |
2286 |
86.40 |
2195 |
146.88 |
3731 |
40.50 |
1029 |
2.43 |
62 |
10.94 |
278
|
| 100 |
2540 |
96.00 |
2438 |
163.20 |
4145 |
45.00 |
1143 |
2.70 |
69 |
12.15 |
309
|
| 110 |
2794 |
105.60 |
2682 |
179.52 |
4560 |
49.50 |
1257 |
2.97 |
75 |
13.37 |
339
|
| 120 |
3048 |
115.20 |
2926 |
195.84 |
4974 |
54.00 |
1372 |
3.24 |
82 |
14.58 |
370
|
| 130 |
3302 |
124.80 |
3170 |
212.16 |
5389 |
58.50 |
1486 |
3.51 |
89 |
15.80 |
401
|
| 140 |
3556 |
134.40 |
3414 |
228.48 |
5803 |
63.00 |
1600 |
3.78 |
96 |
17.01 |
432
|
| 150 |
3810 |
144.00 |
3658 |
244.80 |
6218 |
67.50 |
1715 |
4.05 |
103 |
18.23 |
463
|
| 200 |
5080 |
192.00 |
4877 |
326.40 |
8291 |
90.00 |
2286 |
5.40 |
137 |
24.30 |
617
|
| 250 |
6350 |
240.00 |
6096 |
408.00 |
10363 |
112.50 |
2858 |
6.75 |
171 |
30.38 |
772
|
| 300 |
7620 |
288.00 |
7315 |
489.60 |
12436 |
135.00 |
3429 |
8.10 |
206 |
36.45 |
926
|
Note: :*These figures are for reference purposes only. Please refer to the actual projector for the precise dimensions.
- It is recommended that if you intend to permanently install the projector to physically test the projection size and distance using the actual projector before you permanently install it.
Mounting the Projector
Note: If you buy a third party mount, please use the correct screw size. Screw size can vary depending on the thickness of the mounting plate.
- To make sure the most secure installation, please use a ViewSonic® wall or ceiling mount.
- Make sure the screws used to attach the mount to the projector meet the following specifications:
- Screw type: M4 x 10
- Maximum Screw Length: 10 mm
CAUTION
- Avoid installing the projector near a heat source or air conditioner.
- Keep at least a 10 cm (3.9 in.) gap between the ceiling and the bottom of the projector.
Using the Security Bar
To help prevent the projector from being stolen, use a security slot locking device to secure the projector to a fixed object.
Making Connection
Connecting to Power
# Connect the power cord to the AC IN jack at the rear of the projector.
- Plug the power cord into a power outlet.
|
|
|
Note: When installing the projector, incorporate a readily accessible disconnect device in the fixed wiring, or connect the power plug to an easily accessible outlet near the unit. If a fault should occur during operation of the projector, use the disconnect device to switch off the power supply, or disconnect the power plug.
Connecting to External Devices
HDMI Connection
Connect one end of an HDMI cable to the HDMI port of your video device. Then connect the other end of the cable to the HDMI 1 or HDMI 2 port of your projector.
Note:
- For LS901HD, the HDMI 1 port supports HDCP 2.2; the HDMI 2 port supports HDCP 1.4.
- For LS901-4K, the HDMI 1/ HDMI 2 port supports HDCP 2.3.
Audio Connection
You can connect to various external sound delivery devices via the Audio Out port.
USB and Network Connection
- USB Type-A Connection
- The USB port is for supplying power and service needs.
- Network Connection
- Plug the network cable into the LAN port.
RS-232 Connection
When you use a RS-232 serial port cable to connect the projector to an external computer certain functions can be controlled remotely by the PC, including Power On/Off, Volume adjustment, Input select, Brightness, and more.
Using the Projector
Turning the Projector On
# Make sure the projector’s power cord is properly connected to a power outlet.
- Press the Power button on the projector or remote control to turn on the projector.
Note: :* The Power Indicator Light will be flashing blue during startup.
- The first time the projector is turned on, you will be prompted to select the preferred language and projection orientation.
|
|
|
Selecting an Input Source
The projector can be connected to multiple devices at the same time. However, it can only display one full screen at a time.
When Auto Source is on, the projector will automatically search for input sources. If multiple sources are connected, press the Source button on the projector or remote control to select the desired input.
Note: Make sure the connected sources are also turned on.
Adjusting the Projected Image
Adjusting the Projector’s Height and Projection Angle
The projector is equipped with three adjustment feet. Adjusting the feet will change the projector’s height and the vertical projection angle.
Adjusting the Focus, Keystone, and Lens Shift
You can improve and adjust the clarity and position of the image by adjusting the Focus Ring, Keystone Keys, Lens Shift dial, or Zoom Ring.
Turning the Projector Off
- Press the Power button on the projector or remote control and a “power off message” will appear.
- Press the Power button again to confirm and shut down the projector.
- The Power Indicator Light will turn solid red and enter standby mode.
The projector has multilingual on-screen display menus that allow you to make image adjustments and change a variety of settings.
| Menu
|
Description
|
| Display
|
|
Adjust Image, 3D, Aspect Ratio, Edge Mask, Zoom, Image Shift, and Keystone settings.
|
| Audio
|
|
Adjust the volume level or mute.
|
| Setup
|
|
Adjust Projection, Power, Security, Language, Menu, Input Source, etc. settings.
|
| Network
|
|
Adjust LAN and RS-232 control settings.
|
| Information
|
|
View projector and network information.
|
The projector has multilingual on-screen display menus that allow for image and settings adjustment.
- To open the On-Screen Display (OSD) Menu, press the Menu/Exit button on the projector or the remote control.
- When the OSD is displayed, use the Navigation ▲ / ▼ buttons to select any item in the main menu. While making a selection on a particular page, press the Enter button on the projector or the remote control to enter a sub-menu.
- Use the Navigation ▲ / ▼ / ◀ / ▶ buttons to select the desired item in the sub-menu and then press Enter to view further settings. Adjust the settings by using the Navigation ▲ / ▼ / ◀ / ▶ buttons.
- Select the next item to be adjusted in the sub-menu and adjust as described above.
- Press Enter to confirm, and the screen will return to the main menu.
- To exit, press the Menu/Exit button again. The OSD menu will close and the projector will automatically save the new settings.
| Sub-menu
|
Menu Option
|
| Image Settings
|
Color Mode
|
Presentation
|
|
| Brightest
|
| HDR
|
| HLG
|
| Movie
|
| Game
|
| sRGB
|
| Golf
|
| 3D
|
| Brightness
|
(-/+, -50~50)/1
|
|
| Contrast
|
(-/+, -50~50)/1
|
| Sharpness
|
(-/+, -50~50)/1
|
| Color
|
(-/+, -50~50)/1
|
| Tint
|
(-/+, -50~50)/1
|
| Gamma
|
Cube
|
|
| 1.8
|
| 2.0
|
| 2.2
|
| 2.35
|
| 2.5
|
| sRGB
|
| Film
|
| Color Setting
|
Brilliant Color™
|
(-/+, 1~10)/1
|
|
| Color Temperature
|
Warm
|
| Standard
|
| Cool
|
| Cold
|
| Color Management
|
Color
|
Red
|
| Green
|
| Blue
|
| Cyan
|
| Yellow
|
| Magenta
|
| White
|
| Hue/R
|
(-/+, -50~50)/1
|
| Saturation/G
|
(-/+, -50~50)/1
|
| Gain/B
|
(-/+, -50~50)/1
|
| Reset
|
|
| Exit
|
| RGB Gain/Bias
|
Red Gain
|
(-/+, -50~50)/1
|
| Green Gain
|
(-/+, -50~50)/1
|
| Blue Gain
|
(-/+, -50~50)/1
|
| Red Bias
|
(-/+, -50~50)/1
|
| Green Bias
|
(-/+, -50~50)/1
|
| Blue Bias
|
(-/+, -50~50)/1
|
| Reset
|
|
| Exit
|
| Color Space
|
Auto
|
|
| RGB (0~255)
|
| RGB (16~235)
|
| YUV
|
| Light Source Mode
|
Dynamic Black
|
|
| Eco
|
| Light Source Power 100%~50%
|
| Reset
|
|
| Ultra Fast Input
|
Active
|
|
| Inactive
|
| 3D
|
3D Mode
|
Off
|
|
| On
|
| 3D Format
|
Auto
|
| SBS
|
| Top and Bottom
|
| Frame Sequential
|
| 3D Sync Invert
|
Off
|
| On
|
| Aspect Ratio
|
4:3
|
|
| 16:9
|
| 21:9
|
| Native
|
| Auto
|
| Zoom
|
(-/+, -5~25)/1
|
|
| Image Shift
|
Horizontal (H.)
|
(-/+, -100~100)/1
|
| Vertical (V.)
|
(-/+, -100~100)/1
|
| Keystone
|
Four Corners
|
Top-Left
|
| Top-Right
|
| Bottom-Left
|
| Bottom-Right
|
| H. Keystone
|
(-/+, -30~30)/1
|
| V. Keystone
|
(-/+, -30~30)/1
|
| 3 x 3 Warp
|
|
| Reset
|
| Sub-menu
|
Menu Option
|
| Mute
|
Off
|
| On
|
| Volume
|
(-/+, 0~10)/1
|
| Sub-menu
|
Menu Option
|
| Projection
|
Front
|
|
| Rear
|
| Ceiling-Top
|
| Rear-Top
|
| Power Settings
|
Direct Power On
|
Off
|
| On
|
| Signal Power On
|
Off
|
| On
|
| Auto Power Off (min.)
|
(-/+, 0~180) 5 minutes
|
| Power Mode (Standby)
|
Eco
|
| Active
|
| ErP Off
|
| Security
|
Power On Lock
|
Off
|
| On
|
| Change Password
|
|
| HDMI CEC
|
HDMI CEC
|
Off
|
| On
|
| Test Pattern
|
Test Pattern
|
Off
|
| Green Grid
|
| Magenta Grid
|
| White Grid
|
| White
|
| Test Card
|
| Options
|
Language
|
English
|
| Deutsch
|
| Français
|
| Italiano
|
| Español
|
| Português
|
| Polski
|
| Nederlands
|
| Svenska
|
| Norsk/Dansk
|
| Suomi
|
| ελληνικά
|
| 繁體中文
|
| 簡体中文
|
| 日本語
|
| 한국어
|
| Русский
|
| Magyar
|
| Čeština
|
| يبرع
|
| ไทย
|
| Türkçe
|
| یسراف
|
| Tiếng Việt
|
| Bahasa
|
| Indonesia
|
| Română
|
| Slovenčina
|
| Auto Source
|
Off
|
| On
|
| High Altitude
|
Off
|
| On
|
| Logo
|
Default
|
| Neutral
|
| Reset
|
Reset to Default
|
|
| Sub-menu
|
Menu Option
|
| LAN
|
Network Status
|
|
| MAC Address
|
| DHCP
|
Off
|
| On
|
| IP Address
|
xxx.xxx.xxx
|
| Subnet Mask
|
xxx.xxx.xxx
|
| Gateway
|
xxx.xxx.xxx
|
| DNS
|
xxx.xxx.xxx
|
| Reset
|
|
| Control
|
Crestron
|
Off
|
| On
|
| Extron
|
Off
|
| On
|
| PJ Link
|
Off
|
| On
|
| AMX Device Discovery
|
Off
|
| On
|
| Telnet
|
Off
|
| On
|
| HTTP
|
Off
|
| On
|
| Sub-menu
|
Menu Option
|
| Serial Number
|
|
| Source
|
| Resolution
|
| Refresh Rate
|
| Color Mode
|
Power Mode (Standby)
|
| Light Source Hours
|
| Network Status
|
| IP Address
|
| Light Source Mode
|
| Firmware Version
|
System
|
| LAN
|
| MCU
|

| Menu
|
Description
|
| Image Setting
|
Color Mode
There are several predefined display modes that you can choose from to suit your viewing preference.
|
Presentation
- Suitable for most presenting needs for business and education environments.
|
Brightest
- Suitable for bright, well-lit environments.
|
HDR SIM.[1]/HDR[2]
- Decodes and displays High Dynamic Range (HDR) content for the deepest blacks, brightest whites, and vivid cinematic color using REC.2020 color gamut. This mode can be selected to enhances non-HDR content with simulated HDR.
|
HLG[2]
- Enable for HLG supported content and darker blacks, brighter highlights, and vivid color.
|
Movie
- Provides the best balance of detail and colors for watching movies.
|
Gamma
- Optimizes your projector for maximum contrast and vivid colors allowing you to see shadow detail when playing games.
|
sRGB
- Standardized sRGB color gamut.
|
DICOM SIM.[1]
- Suitable for projecting monochrome images.
|
Golf
- Suitable for golf simulators.
|
3D[3]
- Optimized for 3D content.
|
Brightness
- The higher the value, the brighter the image. Lower values will result in a darker image.
|
Contrast
- Use this to set the peak white level after you have previously adjusted the Brightness setting to suit your selected input and viewing environment.
|
Sharpness
- A high value results in a sharper picture; a low value softens the picture.
|
Color
- Adjust an image from black and white to fully saturated color.
|
Tint
- The higher the value, the more greenish the picture becomes. The lower the value, the more reddish the picture becomes.
|
Gamma
- Reflects the relationship between input source and picture brightness.
|
| Color Settings
|
Brilliant Color™
- A color-processing algorithm and enhancements to enable higher brightness while providing true, more vibrant colors in picture.
|
Color Temperature
- Select from Warm, Standard, Cool, or Cold.
|
Color Management
- Only in permanent installations with controlled lighting levels such as: boardrooms, lecture halls, or home theaters should Color Management be considered. Color Management provides fine color control adjustment to allow for more accurate color reproduction, should you require it. If you have purchased a test disc, which contains various color test patterns and can be used to test the color presentation on monitors, TVs, projectors, etc., you can project any image from the disc on the screen and enter the Color Management menu to make adjustments.
|
RGB Gain/Bias[1]
- Configure the brightness (gain) and contrast (bias).
|
Color Space
- Select from Auto, RGB (0~255), RGB (16~235), and YUV color space.
|
| Light Source Mode
|
Dynamic Black
- Automatically adjust the picture brightness in order to give optimum contrast performance.
|
Eco
- Dim the light output, lowering power consumption.
|
Light Source Power
- Select the power percentage (50%~100%) for brightness mode.
|
| 3x Fast Input[1]/Ultra Fast Input[2]
|
This function is favorable to frame rate reducing.
|
| 3D[4]
|
3D Mode
Enable or disable the 3D function.
|
| 3D Format[5]
Select the 3D content format.
|
Auto
- When a 3D identification signal is detected, the 3D format is selected automatically.
|
SBS
- Display in Side-by-Side format.
|
Top and Bottom
- Display in Top and Bottom format.
|
Frame Sequential
- Display in Frame Sequential format
|
| Aspect Ratio
|
Select the aspect ratio of the projected image.
|
4:3
- Scales an image so that it is displayed in the center of the screen with a 4:3 aspect ratio. This is most suitable for 4:3 images like computer monitors, standard definition TV, and 4:3 aspect DVD movies, as it displays them without aspect alteration.
|
16:9
- Scales an image so that it is displayed in the center of the screen with a 16:9 aspect ratio. This is most suitable for images which are already in a 16:9 aspect, like high definition TV.
|
21:9[2]
- Scales an image so that it is displayed in the center of the screen with a 21:9 aspect ratio without aspect alteration.
|
Native
- Projects the image as its original resolution and resizes it to fit within the display area. For input signals with lower resolutions, the projected image will be displayed in its original size.
|
Auto
- Scales an image proportionally to fit the projector’s native resolution in its horizontal width. This is suitable for the incoming image which is neither 4:3 nor 16:9 and you want to make the most use of the screen without altering the image’s aspect ratio.
|
| Zoom
|
Reduce or magnify the projected image
|
| Image Shift
|
Adjust the projected image horizontally or vertically.
|
| Keystone
|
Four Corners[6]
- Adjust each corner to make a square image when the projection surface is not level.
|
H.Keystone
- Adjust image distortion horizontally.
|
V. Keystone
- Adjust image distortion vertically.
|
3 x 3 Warp[2]
- Configure the geometric distortion of the projector’s images when the images are projected onto screens which have an uneven surface such as a cylinder, a spherical shape, etc.
|
Reset
- Return the Keystone settings to default.
|
Notes:
- ↑ 1.0 1.1 1.2 1.3 LS901HD only.
- ↑ 2.0 2.1 2.2 2.3 2.4 LS901-4K only.
- ↑ 3D glasses are needed.
- ↑ This projector is a 3D ready projector with DLP-Link 3D solution. Please make sure your 3D glasses are for DLP-Link 3D. This projector supports Blue-ray 3D and frame sequential (page-flip) 3D via the HDMI 1/HDMI 2 ports. For the best performance, 1920 x 1080 resolution is recommended. Please note that 4K (3840 x 2160) resolution is not supported in 3D mode.
- ↑ A Blu-ray 3D source will be detected automatically, and options will not be selectable.
- ↑ While adjusting the Four Corners, the Aspect Ratio, Edge Mask, Image Shift, and Zoom menus will be disabled. To enable them, reset the Keystone settings to default
| Menu
|
Description
|
| Mute
|
Temporarily turn off the sound.
|
| Volume
|
Adjust the volume level.
|

| Menu
|
Description
|
| Projection
|
Select the preferred projection: Front, Rear, Ceiling-Top, and Rear-Top.
|
| Power Settings
|
Direct Power On
- Automatically power on the projector when AC power is supplied, without pressing the Power button on the projector or the remote control.
|
Signal Power On
- Automatically power on the projector when a signal is detected, without pressing the Power button on the projector or on the remote control.
|
Auto Power Off (min.)[1][2]
- A countdown timer will start when there is no signal being sent to the projector. The projector will automatically power off when the countdown has finished (in minutes).
|
| Power Mode (Standby)[3][4][1][2]
|
Eco
- Minimum power consumption (< 0.5 Watt) that does not allow network controlling.
|
Active
- Normal standby (> 0.5Watt) which allows the LAN module to enter sleep mode(< 0.5 Watt) in 20 minutes and can’t be woken by Wake on LAN (WoL).
|
ErP Off
- Keep ports and network always powered, allows the projector to provide the network function in standby mode
|
| Security
|
Power On Lock[5]
- Enable or disable a password prompt before using the projector.
|
Change Password
- Set or modify the password.
|
| HDMI CEC[6][7][8]
|
When you connect HDMI CEC-compatible devices to the projector with HDMI cables, you can control them on the same power on or power off status using the HDMI CEC control feature in the projector’s OSD. This lets one device or multiple devices in a group power on or power off via HDMI CEC in a typical configuration.
|
| Test Pattern
|
Select the test pattern from green grid, magenta grid, white grid, white, or disable this function (off).
|
| Options
|
Language
- Select the On-Screen Display (OSD) Menu language.
|
Auto Source
- Automatically find an available input source.
|
High Altitude
- When On, the fans will spin faster for better cooling and performance. This is useful for high altitude environments where the air is thin.
|
Logo
- Set the “startup screen”. If changes are made, they will take effect the next time the projector is powered on.
|
| Reset[9]
|
Return the settings to default.
|
Notes:
- ↑ 1.0 1.1 When you deactivate the power management function, energy consumption will increase.
- ↑ 2.0 2.1 A warning message will also appear:
- ↑ There is no USB power supply when the projector is in standby mode.
- ↑ If you wish to connect to the projector via LAN in its standby mode, be sure you have selected “Erp Off”
- ↑ : The default password is: 1234
- ↑ In order for the CEC function to work properly, make sure that the device is correctly connected to the HDMI input of the projector via an HDMI cable, and its CEC function is turned on.
- ↑ Depending on the connected device, the CEC function may not work.
- ↑ LS901-4K ONLY: If both HDMI 1 and HDMI 2 ports are occpied, the CEC funcntion will not be able to detect the correct source.
- ↑ When resetting, the following settings will still remain: Zoom, Keystone Settings, Language, Projection, Power Mode (Standby), High Altitude Mode, Security Settings, Network Settings, Light Source Hours Information.

| Menu
|
Description
|
| LAN
|
View network information and enable/disable DHCP.
|
| Control[1]
|
Enable or disable network control suites.
|
Notes:
- ↑ To connect successfully, the control suite must be enabled.
Controlling the Projector throught a Network
The projector provides diverse networking and remote management features. The LAN /RJ45 function of the projector, through a network, can remotely manage: Power On/Off, Volume adjustment, Input select, Brightness, and more.
Note: Please ensure Network > Control > HTTP is enabled.
- Connect the projector to a network via the LAN/RJ45 port.
- Open the On-Screen Display Menu and go to: Network > LAN.
- Select DHCP and turn it On to obtain an IP address automatically; or select Off to enter the network information manually.
Note: Please wait for around 15~20 seconds, then re-enter the LAN settings page. The Projector IP Address, Subnet Mask, Default Gateway, DNS Server settings will be displayed. Make note of the IP address displayed in the Projector IP Address row.
- Using a web browser, and under the same network, type in the projector’s IP address.
- Enter the user name and password, then click Log in.
Note: When logging in for the first time, please follow the description on the web page to set a password. Then you will be able to log in.
View Serial Number, Source, Resolution, Refresh Rate, Display Mode, Power Mode, Light Source Hours, Network Status, IP Address, Brightness Mode, and Firmware Version information.
Appendix
Specifications
| Item
|
Category
|
Specifications
|
| Projector
|
Type
|
Laser
|
| Display Size
|
30"~300"
|
| Throw Ratio
|
1.2~2.04 (100" @ 2.66 m)
|
| Display System
|
1-CHIP DMD
|
| Input Signal
|
HDMI
|
fh: 15~255 kHz, fv:23~240 Hz, Pixel rate: 600 MHz
|
| Resolution
|
Native
|
3840 (H) x 2160 (V)
|
| Power
|
Input Voltage
|
AC IN 100-240V, 50/60 Hz (auto switch)
|
| Operating Conditions
|
Altitude
|
0 to 760 m @ 0°C to 40°C
(0 to 2,500 ft. @ 32°F to 104°F)
|
| 760 to 1,520 m @ 0°C to 35°C
(2,500 to 5,000 ft.@ 32°F to 95°F )
|
| 1,520 to 3,048 m @ 0°C to 30°C
(5,000 to 10,000 ft. @ 32°F to 86°F)
|
| Relative Humidity
|
10% to 80% (non-condensing)
|
| Temperature
|
0°C to 40°C
|
| 32°F to 104°F
|
| Storage Conditions
|
Altitude
|
0 to 12,100 m
|
| 0 to 40,000 ft.
|
| Relative Humidity
|
5% to 90% (non-condensing)
|
| Temperature
|
-20°C to 60°C
|
| -4°F to 140°F
|
| Dimensions
|
Physical (W x H x D)
|
337 x 280 x 132 mm
|
| 13.27” x 11.02” x 5.20”
|
| Weight
|
Physical
|
4.85 kg
|
| 10.70 lb
|
| Power Consumption
|
On[1]
|
245W (Typical)
|
| Off
|
< 0.5W (Standby)
|
Notes
- ↑ The test condition follows EEI standards.
Projector Dimensions
337 mm (W) x 132 mm (H) x 280 mm (D)
Timing Chart
HDMI 1 and HDMI 2 (v. 2.0)
Note:
- 1080i @ 25 Hz and 720p @ 50 Hz will run in 100 Hz; other 3D timing will run in 120 Hz.
- 1080p @ 24 Hz will run 144 Hz (XGA, WXGA, 1080p) / 96 Hz (WUXGA).
- If the input frame rate is 48 Hz or greater, the output frame rate is set to twice the input frame rate (FRC = 2X mode).
- If the 3D input frame rate is 25 Hz or greater, the output frame rate is set to four times the input frame rate (FRC = 4X mode).
- If the 3D input frame rate is 24 Hz (includes 23.9 Hz), the output frame rate is set to six times the input frame rate (FRC = 6X mode).
HDMI - PC Signal
| Timing
|
Resolution
|
Refresh Rate (Hz)
|
| VGA
|
640 x 480
|
60/67/72/75/120
|
| 720 x 400
|
70
|
| SVGA
|
800 x 600
|
56/60/72/75/120
|
| 832 x 624
|
75
|
| XGA
|
1024 x 768
|
60/70/75/120
|
| 1152 x 864
|
75
|
| PowerBook G4
|
1152 x 870
|
75
|
| WXGA
|
1280 x 720
|
120
|
| 1440 x 900
|
60
|
| QuadVGA
|
1280 x 960
|
60
|
| SXGV
|
1280 x 1024
|
60/75
|
| WSXGA+
|
1680 x 1050
|
60
|
| 1920 x 1080
|
60/240
|
| WUXGA
|
1920 x 1200
|
60
|
| WQHD
|
2560 x 1440
|
120
|
| 4K
|
3840 x 2160
|
60
|
HDMI - Video Signal
| Timing
|
Resolution
|
Refresh Rate (Hz)
|
| SDTV (480i)
|
720 x 480
|
60
|
| SDTV (480p)
|
720 x 480
|
60
|
| SDTV (576i)
|
720 x 576
|
50
|
| HDTV (720p)
|
1280 x 720
|
50/60
|
| HDTV (1080i)
|
1920 x 1080
|
50/60
|
| HDTV (1080p)
|
1920 x 1080
|
24/25/30/50/60/120
|
| QHD
|
2560 x 1080
|
60
|
| 4K
|
3840 x 2160
|
24/25/30/50/60
|
HDMI - 3D
| Timing
|
Resolution
|
Refresh Rate (Hz)
|
| Frame packing
|
| 720p
|
1280 x 720
|
50/60
|
| 1080p
|
1920 x 1080
|
24
|
| Side-by-Side
|
| 1080i
|
1920 x 1080
|
50/60
|
| Top-and-Bottom
|
| 720p
|
1280 x 720
|
50/60
|
| 1080p
|
1920 x 1080
|
24
|
LS901HD_LS901-4K_UG_ENG_1a_20240816